MANUFATURA MECÂNICA USINAGEM U3 - SEÇÃO 1 U3 S1 - ATIVIDADE DIAGNÓSTICA
1) Quando se precisa produzir uma peça e se concluí que será usado um processo de usinagem, surge a dúvida sobre qual processo empregar. Além dos processos convencionais (torneamento, fresamento, mandrilamento e outros), há também os processos não convencionais de usinagem (eletroerosão, usinagem química e outros).
Sobre estes processos não convencionais, escolha a alternativa correta a seguir:
Escolha uma:
Então, sobre o corte de chapas com processos não convencionais de usinagem, avalie as seguintes asserções:
I - O corte com jato d’ água somente se aplica a aços se lhe for agregado um abrasivo.
II - O corte com laser é relativamente rápido e produz superfícies com boa qualidade, mas tem a limitação de necessitar de vácuo.III - O corte por eletroerosão a fio não se aplica a metais ferrosos devido à sua baixa condutividade elétrica.
Agora escolha a alternativa correta:
Escolha uma:
Sobre este processo considere as seguintes asserções e a relação proposta entre elas:
I - Quanto maior a corrente aplicada ao processo de eletroerosão, mais rápido será o processo e mais qualidade terá a superfície produzida.
PORQUE
II - A taxa de remoção de material é proporcional à corrente elétrica.
Agora escolha a alternativa correta.
Escolha uma:
MANUFATURA MECÂNICA USINAGEM U3 - SEÇÃO 1 U3 S1 - ATIVIDADE DE APRENDIZAGEM
1) Um dos processos de usinagem não convencional é a usinagem por ultrassom. Neste processo uma ferramenta vibra em alta frequência e produz a usinagem na peça, sem que haja contato entre esta e a ferramenta.
Sobre a usinagem por ultrassom, então, escolha a alternativa correta:
Escolha uma:
2) Sua empresa precisa fazer uma cavidade cilíndrica em uma peça de aço inoxidável e deve ser usado o processo de eletroerosão por penetração. O diâmetro do furo é de 20 mm, com uma tolerância de 0,1 mm. A rugosidade aceitável para o interior do cilindro é de 10 µm e estima-se que o GAP seja de 25 µm. O comprimento do cilindro é de 20 mm. Convencionou-se que para que a cavidade tenha uma qualidade superficial adequada a usinagem deve ser feita em dois passes: a primeira, mais grosseira (desbaste) e a segunda, com mais qualidade (acabamento). A figura a seguir ilustra esta situação.
Com base nestes dados escolha complete a frase a seguir, considerando que a máxima corrente fornecida pelo equipamento seja de 15 A:
O eletrodo de desbaste deve ter um diâmetro de aproximadamente _____ mm, o de acabamento, um diâmetro de aproximadamente _____ mm e o material do eletrodo deve ser _______.
Assinale a alternativa correta:
Escolha uma:
3) A usinagem química é um processo muito utilizado na produção de placas de circuitos impressos e em outras aplicações eletrônicas. Basicamente consiste em proteger algumas regiões da peça e submetê-la ao contato com uma substância corrosiva. Assim, as regiões protegidas não são afetadas pela substância corrosiva e ficam em alto relevo em relação ao resto da peça.
Então, sobre este processo de usinagem considere as seguintes asserções e a relação proposta entre elas:
I - A produção de placas de circuito impresso de alta qualidade preferencialmente deve ser feita com o uso de foto ferramentas.
PORQUE
II - A usinagem química somente apresenta resultados satisfatórios em espessuras muito pequenas.
Assinale a alternativa correta:
Escolha uma:
MANUFATURA MECÂNICA USINAGEM U3 - SEÇÃO 2 U3 S2 - ATIVIDADE DIAGNÓSTICA
1) Entre os processos de usinagem não convencionais existe um muito empregado que é a eletroerosão. Este processo opera com descargas elétricas intensas que aquecem a região da peça considerada e a derretem.
Então, sobre este processo escolha a alternativa correta:
Escolha uma:
Sobre esses processos não convencionais de usinagem, associe o tipo de usinagem da coluna 1 com os dados correspondentes da coluna 2.
|
COLUNA 1 |
COLUNA 2 |
|
I – Usinagem eletroquímica |
1 – Trabalha com um fluido dielétrico que deve ser bombeado com alta vazão. |
|
II – Usinagem química |
2 – É um processo bastante lento e caro. |
|
III – Eletroerosão por penetração |
3 – Pode causar problemas de corrosão na peça. |
|
IV – Usinagem por feixe de elétrons |
4 – Somente trabalha com peças de pequena espessura. |
Escolha uma:
( ) A câmara onde é realizada a operação deve ser preenchida com um gás inerte.
( ) O operador da máquina deve usar proteção especial para os olhos.
( ) Somente se aplica a metais ferrosos.
( ) No caso de corte, permite obter superfícies de excelente qualidade.
Assinale a alternativa correta.
Escolha uma:

Sobre este processo, analise as afirmações a seguir e marque V para verdadeiro e F para falso para cada uma delas.
I - O líquido corrosivo deve permanecer o mais estático possível para que não se perca qualidade no corte.
II - A máscara deve ser confeccionada a partir de materiais metálicos de baixo potencial, como alumínio.III - A máscara a ser usada deve ser confeccionada um pouco maior que as dimensões desejadas para compensar as irregularidades.
IV - Normalmente meios ácidos são usados para níquel e cobre e meios básicos (cáusticos) para alumínio e aços.Assinale a alternativa que apresenta a sequência correta.
Escolha uma:

Considerando este processo, analise as asserções a seguir:
I - A folga (gap) entre a ferramenta e a peça a ser usinada é diretamente proporcional à velocidade de remoção de material.
II - O eletrólito deve ser bombeado a alta velocidade para remover os resíduos.III - A quantidade de material removido é inversamente proporcional à intensidade de corrente elétrica.
Agora, assinale a alternativa correta:
Escolha uma:

Note-se que é um processo empregado principalmente para cortes.
Então, sobre este processo considere as asserções a seguir e a relação proposta entre elas:
I - O corte feito com eletroerosão a fio permite efetuar cortes segundo perfis pré-definidos.
PORQUE
II - A remoção de material é feita por descargas elétricas muito intensas.
Agora considere a relação entre essas asserções:
Escolha uma:
MANUFATURA MECÂNICA USINAGEM U3 - SEÇÃO 3 U3 S3 - ATIVIDADE DIAGNÓSTICA
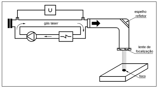
1) Uma forma bastante rápida de cortar metais é com o uso de raios laser. O princípio deste tipo de processo é usar a energia contida em um feixe de luz para aquecer uma região do material a ser cortado.
Sobre este processo de corte de chapas, considere as seguintes asserções:
I - O gás de assistência tem como principal função remover o material fundido da região de corte.
II - Velocidades de corte muito elevadas podem aumentar a zona termicamente afetada, com consequente perda de qualidade.III - A cor do feixe de luz depende da intensidade da sua potência.
Agora escolha a alternativa correta:
Escolha uma:
Sobre este processo responda: O processo de corte com jato de água permite cortar:
Escolha uma:

Então, sobre o corte por plasma considere as seguintes asserções e marque V para verdadeiro e F para falso para cada uma delas.
I - O corte por plasma não pode ser usado para cortar chapas finas (abaixo de 1 mm).
II - Dentre os processos não convencionais usados para corte, o plasma é o que fornece a maior energia às peças.
III - O gás de plasma e o gás de proteção devem ser gases diferentes.
IV - Mesmo o equipamento portátil de plasma permite cortar chapas metálicas de até 160 mm.
Agora escolha a alternativa correta:
Escolha uma:
MANUFATURA MECÂNICA USINAGEM U3 - SEÇÃO 3 U3 S3 - ATIVIDADE DE APRENDIZAGEM
1) Um processo de usinagem não muito difundido na indústria, mas que apresenta bons resultados é o jato abrasivo. Neste processo há um jato de gás em alta pressão ao qual se agregam partículas abrasivas, as quais serão as responsáveis pela usinagem. A figura a seguir esquematiza um equipamento como esse.
Sobre este processo, então, considere as asserções a seguir e a relação entre elas.
I - Quanto maiores as partículas abrasivas, melhor a qualidade superficial da peça.
PORQUE
II - Partículas de maior tamanho removem mais material na usinagem.
Acerca dessas asserções, assinale a opção correta.
Escolha uma:

Sobre o processo de corte a laser, considere as seguintes asserções:
I - O gás de assistência tem como função excitar os elétrons para produzir o feixe de luz.
II - Por concentrar a luz em um ponto este processo não altera termicamente a estrutura do material cortado.
III - O diâmetro do raio de luz normalmente é inferior a 0,25 mm.
Agora escolha a alternativa correta:
Escolha uma:
Assim, é importante distingui-los e, para isso, associe as informações da coluna 1 com as da coluna 2 ,a seguir.
|
I – Corte por plasma |
1 – Pode ser usado em alimentos |
| II – Corte por laser |
2 – Apresenta baixa eficiência energética |
|
III – Corte por jato d’água |
3 – Aplica-se sobretudo a dar acabamento à peça |
|
IV – Usinagem por ultrassom |
4 – Produz muita energia térmica |
|
V – Usinagem por jato abrasivo |
5 – Não provoca alterações na estrutura do material |
Escolha uma:
Sobre esses processos, então, considere as asserções a seguir.
I - Na usinagem por ultrassom, como a ferramenta não entra em contato com a peça, não há desgaste da ferramenta.
II - No corte com jato d’água, se a granulação for maior, o processo ganha velocidade, mas perde qualidade superficial.III - No corte por plasma, as altas temperaturas exigem que seja feito um tratamento térmico na peça após o corte.
Agora escolha a alternativa correta:
Escolha uma:
Sobre este processo, então, considere as asserções a seguir.
I - O fio empregado neste processo deve ser de material com composição próxima ao material a ser cortado.
II - Quanto maior o GAP, menor o tempo necessário para o corte da peça.
III - Quanto menor o GAP, menor a rugosidade final da peça.
Agora assinale a alternativa correta:
Escolha uma:
Sobre este tipo de corte, então, considere as seguintes asserções a seguir:
I - Quando usados abrasivos de granulação maior, o processo ganha velocidade de corte, mas diminui a qualidade da superfície obtida.
II - Este processo permite o reaproveitamento da água, bastando filtrá-la adequadamente.
III - Corte com jato d’água não deve ser usado em materiais muito frágeis, como o vidro.
Agora escolha a alternativa correta:
Escolha uma:
Então, sobre este processo, considere as seguintes asserções e a relação entre elas.
I - Para que a qualidade superficial da peça seja boa é preciso que o abrasivo seja o mais duro possível.
PORQUE
II - Quanto maior o impacto do abrasivo na peça, mais material será removido.
Acerca dessas asserções, assinale a opção correta.
Escolha uma:































