DINÂMICA DE CORPOS RÍGIDOS U2 - SEÇÃO 1 U2 S1 - ATIVIDADE DIAGNÓSTICA
1) Sejam as afirmativas a seguir:
I. O momento de inércia é também conhecido como inércia rotacional, ou massa angular.
II. O momento de inércia quantifica a resistência que um corpo tem em girar sobre um eixo, isto é, sofrer uma aceleração angular.
III. O momento de inércia total de um sistema é igual à soma individual de cada momento angular de seus constituintes.
Analise as três afirmativas do enunciado, e selecione a alternativa correta.
Escolha uma:
Leia o texto e selecione a alternativa que melhor completa as lacunas.
Escolha uma:
I. O Centro de Massa é um ponto único no corpo rígido, onde se uma força for aplicada sobre uma linha que o atravessa não se gera torque.
II. Girar um disco é tão difícil quanto girar um anel de mesmo raio, basta que ambos possuam a mesma massa.
III. Para determinar a inércia de rotação de uma engrenagem, não basta saber apenas a sua massa.
Analise as três afirmativas anteriores, e selecione a alternativa correta.
Escolha uma:
.
Qual o momento de inércia do eixo que passa perpendicularmente ao plano da peça através de seu centro?
Escolha uma:
Teorema dos ______________: Se conhecermos o momento de inércia em relação a um eixo que passa pelo Centro de Massa de um corpo rígido, o momento de inércia em relação a qualquer outro eixo paralelo ao original será: ______________.
Teorema dos ______________: Se conhecermos o momento de inércia de dois eixos, e estes definem um plano , o momento de inércia de um terceiro eixo , perpendicular a esse plano, será: ______________.
Leia o texto anterior com bastante atenção, e selecione a alternativa que melhor completa as lacunas do texto.
Escolha uma
, onde é a distância à uma das extremidades da barra, como mostrado na figura abaixo, e as unidades estão no SI. Sabendo que a barra em questão tem um comprimento total de 2 metros.
Figura: Densidade da barra
Selecione, dentre as alternativas aquela que corresponde a massa total da barra.
Escolha uma:
DINÂMICA DE CORPOS RÍGIDOS U2 - SEÇÃO 2 U2 S2 - ATIVIDADE DIAGNÓSTICA
1) Um referencial não inercial terá sempre forças denominadas imaginárias que são uma consequência da Primeira Lei de Newton, ou Lei da Inércia. Referenciais linearmente acelerados e referenciais girantes são exemplos onde tais forças imaginárias estarão presentes.
Considere as alternativas a seguir e selecione a que contém apenas forças imaginárias ou inerciais.
Escolha uma:

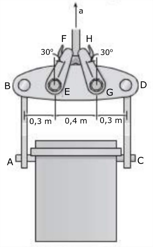
Figura: Viga suspensa
Determine a tração T desenvolvida nas barras nesse instante e selecione a alternativa que apresente a resposta correta.
Escolha uma:
I. A soma de todas as forças que agem sobre um corpo rígido é igual à massa do corpo vezes a aceleração de seu centro de massa
II. Um referêncial girante e um referêncial acelerado são exemplos de um referêncial não inercial
III. A primeira lei de Newton, também chamada Lei da Inércia, diz que não é possível alterar o estado de movimento de um corpo.
Leia com cuidado as três afirmativas anteriores, e assinale qual alternativa é a correta.
Escolha uma:
DINÂMICA DE CORPOS RÍGIDOS U2 - SEÇÃO 2 U2 S2 - ATIVIDADE DE APRENDIZAGEM
1) Leia as três afirmativas a seguir:
I - A soma de todas as forças que agem sobre um corpo rígido é igual à massa do corpo vezes a aceleração de seu centro de massa
II - Um referencial girante e um referencial transladando a velocidade constante são exemplos de referencial inercial
III - Forças imaginárias são uma consequência direta da primeira lei da Termodinâmica, a chamada Lei da Entropia.
Leia com cuidado as três afirmativas anteriores, e assinale qual alternativa é a correta.
Escolha uma:

Determine a aceleração centrípeta e tangência do centro de massa do centro de massa do sistema e selecione a opção que melhor represente sua resposta.
Escolha uma:

Qual a força resultante que atua sobre o centro de massa no referencial do próprio centro de massa? Despreze os efeitos da gravidade, considere o movimento do centro de massa sobre o eixo x e selecione a opção que melhor represente sua resposta, na unidade Newton.
Escolha uma:
DINÂMICA DE CORPOS RÍGIDOS U2 - SEÇÃO 3 U2 S3 - ATIVIDADE DIAGNÓSTICA
1) I. Um referencial executando um movimento de rotação está sujeito a forças inerciais.
II. Torque é definido como o produto vetorial entre a força F e o raio r , ou seja T=F X r .
III. Se o deslocamento for dado por: x(t) ; a velocidade será dada por v=dx/dt, e a aceleração por
Leia as afirmativas anteriores, e assinale qual alternativa é a correta.
Escolha uma:
I. A força de coriolis é outro exemplo de força imaginária ou inercial.
II. A unidade de torque no Sistema Internacional (SI) é: N.m /Kg.
III. Se para definir uma posição angular usarmos graus, podemos definir a velocidade angular em: graus / s².
Leia com atenção as afirmativas e assinale qual alternativa é a correta.
Escolha uma:
Leia o texto acima e selecione a alternativa que melhor completa as lacunas.
Escolha uma:
DINÂMICA DE CORPOS RÍGIDOS U2 - SEÇÃO 3 U2 S3 - ATIVIDADE DE APRENDIZAGEM
1) O navio mostrado na figura abaixo tem uma massa de
e seu centro de gravidade está localizado em G. Dois rebocadores de peso desprezível são usados para virá-lo, cada um com uma força de 10 KN. Considere que o navio tem um raio de giro em relação ao seu centro de gravidade de 37.5 M . Um rebocador esta distante em 30m do centro de massa do navio, o segundo está a 60m do centro de massa. Despreze a resistência da água.
Determine a intensidade inicial da aceleração angular desprezando a resistência da água. Selecione a alternativa que represente melhor a solução encontrada.
Escolha uma:
I. A soma de todas as forças que agem sobre um corpo rígido é igual à massa do corpo vezes a velocidade de seu centro de massa.
II. Um referencial girante a uma velocidade angular constante e um referencial transladando a velocidade linear constante são ambos exemplos de referencial inercial.
III. A aceleração centrípeta de um sistema é proporcional ao quadrado da velocidade tangencial deste mesmo sistema, seguindo a relação ac = v²/r.
Leia com atenção as afirmativas anteriores, e assinale qual alternativa é a correta.
Escolha uma:

Figura: Sistema roda e correia
Determine a intensidade da aceleração angular da roda e selecione a alternativa que represente a solução encontrada.
Escolha uma:
DINÂMICA DE CORPOS RÍGIDOS U2 - SEÇÃO 3 U2 - AVALIAÇÃO DA UNIDADE
1) Na figura abaixo temos um pêndulo real suspenso pelo pino no ponto O, que permite ao pêndulo apenas girar em um eixo de giro sobre o plano do papel. Este pêndulo consiste em uma barra fina de comprimento 450 mm e densidade linear constante de 100g/cm, acoplado a extremidade da barra temos um disco de raio 100mm e massa total de 10Kg.

Figura: Pêndulo Composto
Selecione dentre as opções abaixo a que corresponde melhor ao momento de inércia do pêndulo.
Escolha uma:
A massa total, a densidade e o volume são grandezas ___________ e se relacionam pela fórmula:
.Onde m é a massa total do corpo rígido, V é o volume delimitado pelo seu formato, ou seja, sua geometria, e
Leia o texto anterior com bastante atenção, e selecione a alternativa que melhor completa as lacunas do texto.
Escolha uma:

Determine a aceleração tangencial do centro de massa. Considere a gravidade como g=10m/s e selecione a opção que melhor represente sua resposta.
Escolha uma:

Qual a força dos membros AB, CD, EF, GH? Selecione a opção que melhor represente sua resposta.
Escolha uma:

Torque pode ser escrito na mesma forma que a segunda lei de Newton, onde o ______________ faz as vezes da massa para a __________________
O movimento de um corpo rígido no plano é descrito por três equações escalares independentes, duas referente ao movimento ___________: EFx=max; EFY=may; e uma referente ao movimento _____________:

.
Leia o texto acima e selecione a alternativa que melhor completa as lacunas
Escolha uma:































